Imagining the range and severity of the various kinds of cybersecurity risks and vulnerabilities today, many professionals feel overwhelmed. And understandably so: the risk landscape is dynamic, constantly evolving, and looks different for every business – it’s always hard to assign a real value or quantify something so opaque.
But at Cowbell, having a clear sense of each organization’s risk level is foundational to how we operate. Just as some of the finest musical compositions would lack their distinctive rhythm without the clear resonance of a cowbell, underwriters would find themselves lost while navigating the risk landscape without a clear measurement or guide. So we’ve made it our mission to provide a clear picture of each organization’s unique cyber risk posture. This, in turn, empowers us to recommend and implement the best possible coverage and protection. Having clear risk measurements also ensures that our clients understand and appreciate the level and value of their protection.
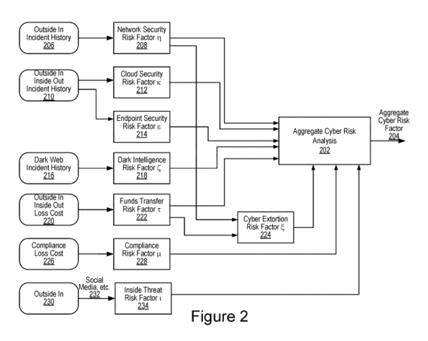
Our now fully patented technology, Cowbell Factors™, is our answer to this challenge. Cowbell Factors allows us to assess any company’s cyber risk quickly and effectively using an extensive pool of the subject’s public data. Our technology creates scores weighted against the business’s industry average to determine its relative cybersecurity posture in eight categories:
- Network Security
- Cloud Security
- Endpoint Security
- Dark Intelligence
- Funds Transfer
- Cyber Extortion
- Compliance
- Supply Chain
The result is numerical scores that help businesses clearly understand if they are more or less at risk than their peers. As in any competitive area, weighing a business’s risk score against its industry average is imperative in determining how and in what areas a company is vulnerable. This rating is used by Cowbell’s underwriting team to effectively determine the company’s insurability with accuracy and objectivity. Since the process is standardized, it is also unbiased, objective, and with considerably less chance of human error. For the underwriting teams, the insights derived from these ratings lay the foundation for precise risk selection and pricing.

Fig 2 in US Patent 11,870,800 describes an example of a cyber risk analysis engine
Every Cowbell Factor is a rating index that contributes to the evaluation of an organization’s cyber risk, and therefore its recommended level of coverage. Unlike traditional methods, Cowbell Factors apply continuous observation to map exposure and impact.
Importantly, our cyber risk assessment tool is available for everyone, not just Cowbell policyholders. Giving businesses the tools and opportunity to understand their cyber risk better can help create a more secure world for everyone.
You won’t find Cowbell Factors’ unique and specialized approach to risk assessment anywhere else in the market.
Speaking to our Origins
More than a traditional insurance provider, technology and innovation lie at the core of Cowbell’s origin and underpin all of the unique and ever-evolving ways we serve our clients. This has allowed us to bridge the gap between technology and insurance as we empower our policyholders to take control of their cyber risk.
With these origins, and newly issued patents by US PTO (US Patent # 11,870,800 and US Patent # 11,888,886 for Cyber Risk Assessment and Cybersecurity Insurance Platform) we are emboldened to further our commitment to a more secure and resilient operating environment for the entire small and mid-sized enterprise (SME) economy.




